揭秘输入地址到显示页面背后发生的故事
前言
工作了一年多,发现自己其实学习路线是存在问题的,刚开始学习前端就是直接学习着三个基础HTML,CSS,JavaScript,然后就学习框架vue,然后vue脚手架,vuex,路由,webpack这些。
从来没有考虑过本质,比如浏览器的运行,渲染机制,浏览器怎么和服务器通行等等。所有的认知都只是停留在表面。
所以意识到自己的短板后,开始深入学习。
浏览器组成
首先我们要知道浏览器的组成。我们知道不同浏览器具体实现是有不同的,但是它们设计思想是一样的,所以可以将浏览器抽象成下面的图。


浏览器历史
在2007年前大多数浏览器都是单进程的,也就是所有功能都运行在一个进程中。那时候浏览器需要借助插件去实现web视频,web游戏,但是插件是很不稳定的,常常会崩溃,由于是单进程,所以其中一个模块崩溃会导致整个浏览器崩溃。所以后面出现了多进程浏览器,不同功能模块运行在不同的进程,相互之间独立。
单进程浏览器
单进程浏览器有如下的缺点:
- 不稳定
 - 不流畅
 - 不安全
 
插件和渲染引擎模块在当时具有不稳定性,因而导致浏览器不稳定。不流畅是因为所有模块都要在一个进程运行,也就是每个模块是等待上一个模块运行结束后才能运行,所以页面肯定是不流畅的,加载时间慢。不安全是如果在插件中有病毒,那么就会导致整个浏览器崩溃掉。
多进程浏览器
现在市面上大多数的浏览器都是多进程的。以谷歌为例,我们开始打开一个页签,这里我打开了谷歌搜索。我们可以看到一开始就有5个进程。

进程我们可以分为:浏览器主进程,GPU进程,网络进程,渲染进程,插件进程。
图中第一个显示‘浏览器’指的就是浏览器主进程。主要负责掌控全场,包括浏览器的界面的显示,用户交互(前进,后退等等)、负责各个页面的管理,子进程的创建与销毁等、存储功能等。
GPU进程一开始是为了3D绘制,但是后面谷歌浏览的ui界面都用GPU渲染,所以GPU单独成为了一个进程。
网络进程(Network Service)是最近才单独成为一个进程,之前是运行在主进程,主要负责网络资源的加载。
渲染进程:主要任务是将html,css,js转换成用户可以交互的页面,默认情况下一个页签会生成一个进程。
插件进程:之前说过,插件是不稳定的,所以要把插件单独作为一个进程。
面向服务架构
多进程模型虽然解决了单进程的许多问题,但是也带来了一些问题,比如内存占用变高了,因为每一个进程都有公共基础模块的副本,还有体系结构变复杂了,模块之间耦合性高,扩展性差。现在谷歌团队根据‘面向服务的架构(SOA)’思想设计了一个新的架构。原来的模块都独立成一个个服务,服务可以在进程中运行。但是这个架构过渡是需要一定的时间。
再也不怕别人问我输入url后发生了什么
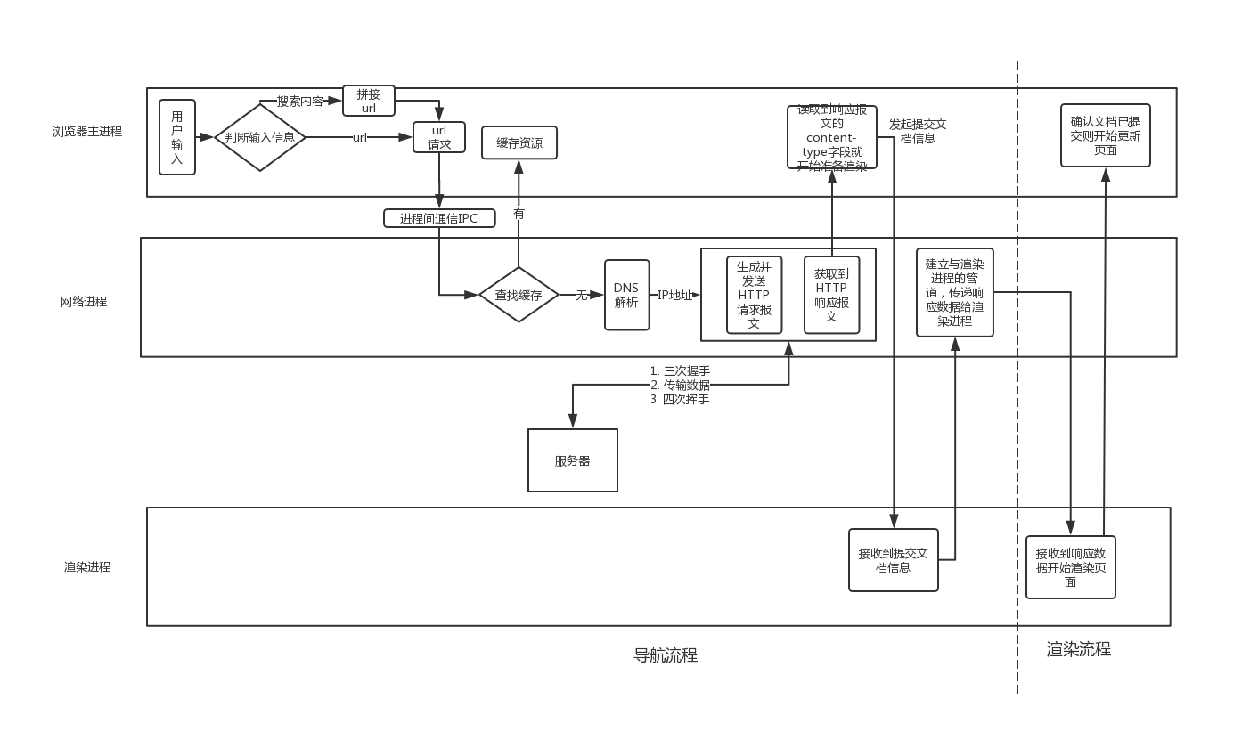
首先上个总体图

我们之前说过现代浏览器主要是多进程浏览器,然后实现一个页面的展示依靠多个进程之间相互协作。主要有浏览器主进程,网络进程,渲染进程。
输入url后到页面展示主要可以分为两个流程:导航流程和渲染流程。
导航流程页分为用户输入过程、url请求过程、提交文档过程。
导航流程
用户输入过程
我们在地址栏输入一个地址url,然后回车,这时候浏览器主进程会判断是输入的是地址还是搜索关键字,如果是地址的话,那么进入url请求过程,如果是关键字搜索的话,那么就会根据浏览器默认的搜索引擎生成新的url,然后将生成的url通过进程间通信IPC传递给网络进程。
url请求过程
查看缓存
拿到URL后第一个会检查有没有缓存,如果有缓存那么就读取缓存,如果没有缓存,则进行下一步。
DNS解析
识别url,抽取出域名,然后进行DNS解析。
DNS为Domain Name System的简写。意为域名系统。为什么要解析域名?这是因为在互联网中我们要访问其他服务器是通过ip地址进行通信,但是ip地址不利于人们记忆,所以人们通过域名去记忆,比如cn.bing.com、www.google.com。所以我们需要将域名解析成ip地址,然后发起请求。
找了许多文章来看,各有说各的,我也不懂怎么去验证谁是对的,所以在这里就不细说DNS解析过程了。
假装拿到了ip地址。
发起http请求
生成http请求报文
详情可以移步浏览器缓存详解 里面有关于http请求报文的详细介绍。
建立TCP连接(三次握手)
我们首先来看下TCP/IP协议栈

TCP (传输控制协议)是一种面向连接的、可靠的、基于字节流的传输层通信协议。应用层向TCP层发送用于网间传输的、用8位字节表示的数据流,然后TCP把数据流分区成适当长度的报文段(通常受该计算机连接的网络的数据链路层的最大传输单元(MTU)的限制)。之后TCP把结果包传给IP层,由它来通过网络将包传送给接收端实体的TCP层。TCP为了保证不发生丢包,就给每个包一个序号,同时序号也保证了传送到接收端实体的包的按序接收。然后接收端实体对已成功收到的包发回一个相应的确认(ACK);如果发送端实体在合理的往返时延(RTT)内未收到确认,那么对应的数据包就被假设为已丢失将会被进行重传。TCP用一个校验和函数来检验数据是否有错误;在发送和接收时都要计算校验和。 –百度百科
我们知道TCP可以给我们提供可靠的数据传递,在协议栈途中我们可以看到TCP报文的首部,与建立TCP连接相关的几个字段为序号(seq),确认号(ack),六个标志中的ACK,SYN这共四个字段。
1. 序号(seq):报文的序号,建立连接的话序号是随机生成的。
2. 确认序号(ack):只有六个标志位中的ACK为1的时候,确认序号才有效,ack=seq+1
3. ACK:决定确认序号ack是否有效
4. SYN:发起一个新连接TCP的可靠性就是靠序号和确认序号去实现。

建立TCP连接的过程如下:
- 客户端发送SYN=1,seq=x的报文给服务端,表示要创建一个新连接,报文的序号为x
 - 服务端接收到后会返回SYN=1,ACK=1,表示已经接收到发起连接到请求,seq=k,ack=x+1,而且期待下次接收到是x+1序号到报文,然后服务器的报文的序号是k
 - 看上去现在一来一回,感觉上就应该可以建立连接了,但是为什么还有第三次握手,这是为了很久以前的客户端的报文莫名的到了服务端,而且此时客户端已经不需要建立连接了,但是如果只有两次握手就建立的连接的话,那么此时服务器就会确定建立连接,并且等待客户端传输数据,那么就造成了服务端资源的浪费。所以需要进行第三次握手,也就是客户端返回一个ACK=1,ack=k+1表示已经知道服务端收到刚刚发送的连接发起请求报文
 
传递数据
建立好TCP连接后可以开始向服务器传递数据了。
关闭连接
数据传递结束后,我们要关闭连接,也就是要进行四次挥手。
除了之前接触到的字段外,四次挥手相关的一个字段为FIN,意为要关闭连接。

- 首先客户端数据传递完成发起关闭连接请求,FIN=1,seq=x,x等于上一个客户端接收的报文的序号+1
 - 然后服务端接收到后返回报文ACK=1,seq=k,ack=x+1,告诉客户端序号为x的包我已经接收到了,期待下次接收到x+1序号的包,然后服务端本次的序号是k
 - 然后服务端可能这时候还有传递一些数据给客户端,客户端虽然发起了关闭连接请求,但是还是可以接收报文,然后服务端此时的序号假设是w,此时服务端数据发送完毕后,发起关闭连接请求,所以FIN=1,然后期待接收到x+1序号到报文(ACK=1,ack=x+1)。
 - 客户端接收到服务端的关闭连接请求,则告诉服务端我接收到了你的请求ACK=1,然后序号为x+1。
 
此时客户端和服务端都关闭了连接。
服务器响应
http响应报文详情可以移步浏览器缓存详解 里面有关于http响应报文的详细介绍。
服务器响应和请求差不多,也是进行三次握手,传递数据,然后四次挥手。
提交文档过程
网络进程获取到响应数据后会告诉浏览器主进程,主进程会发起提起文档请求给渲染进程,告诉渲染进程可以准备了,渲染进程接收到主进程传递过来的文档信息后,会和网络进程建立一个数据传输通道,网络进程会将响应数据传递给渲染进程,数据传递结束后,渲染进程会告诉浏览器主进程,主进程则开始更新页面。
所以我们在一个旧页面的地址栏输入一个新地址回车后,旧页面会保持一段时间才会更新为新页面,就是因为在执行这个导航过程。
到此导航过程结束,下面开始详细介绍渲染过程。
渲染流程
渲染流程主要是在渲染进程中去执行,渲染进程中又分了几个线程去实现不同的功能。主要有以下几个线程。
GUI渲染线程
- 负责渲染浏览器界面,包括解析HTML、CSS、构建DOM树、Render树、布局与绘制等
 - 当界面需要重绘(Repaint)或由于某种操作引发回流(reflow)时,该线程就会执行
 
JavaScript引擎线程
- 主要负责处理Javascript脚本程序
 - 等待任务队列的任务的到来,然后加以处理,
 
定时触发线程
setTimeout和setInteval,主要负责浏览器定时和计数。
事件触发线程
当一个事件被触发时该线程会把事件添加到待处理队列的队尾,等待JS引擎的处理
异步请求线程
使用XMLHttpRequest (XHR)对象可以与服务器交互,XHR发起连接后,浏览器主线程会新开一个异步请求线程,检测到状态变更时,如果设置有回调函数,那么将产生状态变更事件放到任务队列里等待js引擎去处理
渲染过程详解
- 构建 DOM 树。
 - 构建 CSSOM 树。
 - 将 DOM 与 CSSOM 合并成一个渲染树。
 - 根据渲染树来布局,以计算每个节点的几何信息。
 - 将各个节点绘制到屏幕上。
 
构建DOM树
服务器返回给浏览器的html数据不是我们看到<html>,<body>等,而是一些字节数据,我们需要将这个些字节数据一步步转换成DOM树,转换过程如下:
Bytes–>Characters–>Tokens–>Nodes–>DOM
- 获取到响应数据到字节
 - 开始解析这些字节,根据文件的指定编码(例如 UTF-8)将它们转换成字符串
 - 字符串转换成Token,也就是
<html>,<body>等,Token中会标识出当前Token是“开始标签”或是“结束标签”亦或是“文本”等信息 - 解析token生成节点对象,不是等到所有token都生成后才去生成节点对象,而是生成一个token,就马上生成一个节点对象,带有结束标签标识的Token不会创建节点对象
 - 遍历节点,构建DOM树
 
解析HTML的时候读到引入外部css或js文件,渲染进程会将请求发送到网络进程,由网络进程去下载对应的css文件或js文件。不同的是,如果是js文件,这会阻断HTML的解析,js下载完成后会在js引擎线程立即执行,此时GUI渲染线程会被挂起。如果是css文件的话,不会阻断HTML的解析。
一个简单的例子

构建CSSOM树
构建CSSOM树其实和构建DOM很类似。css文件被下载后会开始进行CSSOM构建。
Bytes–>Characters–>Tokens–>Nodes–>CSSOM
上面说过构建CSSOM不会阻塞HTML解析,但是如果在js中操作了CSSOM,那么需要等到响应css文件下载并构建CSSOM后,js才会继续执行,在这期间HTML解析会一直被挂起,所以我们在HTML文件引入css,js文件的顺序很重要,css优先,放在头部引入,js滞后,放在页面底部。
解析HTML的时候,遍历节点时将节点插入到DOM树上,同时去查找css,然后把对应的样式规则应用到元素及节点上,查找样式表是按照从右到左的顺序去匹配的。
比如: div p {color: #333;},会先寻找所有p标签并判断它的父标签是否为div之后才会决定要不要采用这个样式进行渲染。
所以,我们平时写CSS时,尽量用id和class,千万不要过渡层叠。
一个简单的例子

将DOM树和CSSOM树合成渲染树
浏览器会先从DOM树的根节点开始遍历每个可见节点。可见节点就是display不为none的元素,对每个可见节点,找到其CSS样式规则并应用。
渲染树和DOM树最大的区别是DOM包括了所有节点,渲染树只包括了可视节点。
一个简单的例子

布局
渲染树合成后并不包含元素的位置和大小信息,将其放在浏览器窗口的正确位置。计算这些值的过程称为布局或重排或则回流。比如我们在布局完成后对DOM进行了修改,那么需要重新计算这些值,这个过程就叫做回流或者重排。
绘制
在绘制阶段,系统会遍历渲染树,将内容显示在屏幕上。同样绘制成功后再对dom进行操作的话,需要重新绘制,也叫做重绘。
重绘:屏幕的一部分重画,不影响整体布局,比如某个CSS的背景色变了,但元素的几何尺寸和位置不变。
回流: 意味着元件的几何尺寸变了,我们需要重新验证并计算渲染树。是渲染树的一部分或全部发生了变化。
一般情况下回流消耗比重绘大,但是不管是回流还是重绘,我们都应该尽量避免。
下面这些情况会引起回流
- DOM操作,增删查改
 - 变更内容
 - 激活伪类
 - 访问或改变某些CSS属性(包括修改样式表或元素类名或使用JavaScript操作等方式)
 - 浏览器窗口变化(滚动或尺寸变化)
 
如何减少重绘和回流
- 减少回流的影响范围,也就是我们元素的样式尽量不要通过父级元素去影响子元素,而是直接加在子元素上
 - 少用style,多用class
 - 减少DOM的层级
 - 避免复杂的css选择器,这样可以减少匹配事件。
 - 使用 transform 替代 top
 - 使用 visibility 替换 display: none ,因为前者只会引起重绘,后者会引发回流(改变了布局)
 - 不要把节点的属性值放在一个循环里当成循环里的变量。
 
性能优化
html
1. 降低dom复杂程度
2. meta定义文档编码css
1. 压缩css文件
2. 减少元素标签作为对后一个选择对象js
1. 减少用js去操作样式
2. 减少定时器的实用,并且不用时要销毁
3. 对高频的回调要进行节流和防抖
4. 耗时长的代码放到Web Worker中运行图片
1. 懒加载图片
2. 图片压缩处理其他
1. 减少请求资源大小或者次数 参考
- https://www.html5rocks.com/zh/tutorials/internals/howbrowserswork/
 - http://www.dailichun.com/2018/03/12/whenyouenteraurl.html
 - https://www.cnblogs.com/lanxiansen/p/10972802.html
 - https://www.cnblogs.com/lhb25/p/how-browsers-work.html#Painting
 
赏
